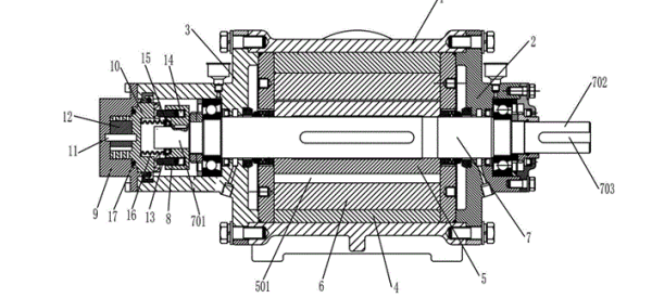
Thrust bearing installation drawing

When assembling the thrust ball bearing, attention should be paid to distinguish between the tight ring and the loose ring. The tight ring and the shaft are fitted tightly and are relatively stationary with the shaft. The inner hole of the loose ring is larger than the inner hole of the tight ring, and it is a clearance fit with the shaft. After assembly, the tight ring should rest on the plane of the rotating part, and the loose ring should be placed on the stationary plane. Otherwise, the rolling elements will lose their function, and at the same time, the wear between the matching parts will be accelerated and the mechanism will lose accuracy.
When installing the thrust bearing, attention should be paid to distinguish between the tight ring and the loose ring of the bearing (judging by the size of the inner diameter of the bearing, the aperture phase can distinguish the tight ring and the loose ring of the bearing by 0.1-0.5mm). The stationary parts of the sorting mechanism (that is, the parts that do not move, mainly refer to the stationary parts of the assembly sorting mechanism). In any case, the loose ring of the bearing should always rest on the end face of the stationary part.
1.The news above mentioned with detailed source are from internet.We are trying our best to assure they are accurate ,timely and safe so as to let bearing users and sellers read more related info.However, it doesn't mean we agree with any point of view referred in above contents and we are not responsible for the authenticity. If you want to publish the news,please note the source and you will be legally responsible for the news published.
2.All news edited and translated by us are specially noted the source"CBCC".
3.For investors,please be cautious for all news.We don't bear any damage brought by late and inaccurate news.
4.If the news we published involves copyright of yours,just let us know.
Next The national key R&D project Demonstration application and industrial test platform of precision machine tool spindle bearings of ZYS was successfully passed the comprehensive performance evaluation
BRIEF INTRODUCTION
Cnbearing is the No.1 bearing inquiry system and information service in China, dedicated to helping all bearing users and sellers throughout the world.
Cnbearing is supported by China National Bearing Industry Association, whose operation online is charged by China Bearing Unisun Tech. Co., Ltd.
China Bearing Unisun Tech. Co., Ltd owns all the rights. Since 2000, over 3,000 companies have been registered and enjoyed the company' s complete skillful service, which ranking many aspects in bearing industry at home and abroad with the most authority practical devices in China.





